新华信托破产事件

新华信托破产了,这个消息并不让人意外,早在2014年市场上就有人在四处推销新华信托的不良资产包,打三折都没人要。今天我们就来看看具体什么情况。

问题一,破的是谁的产?
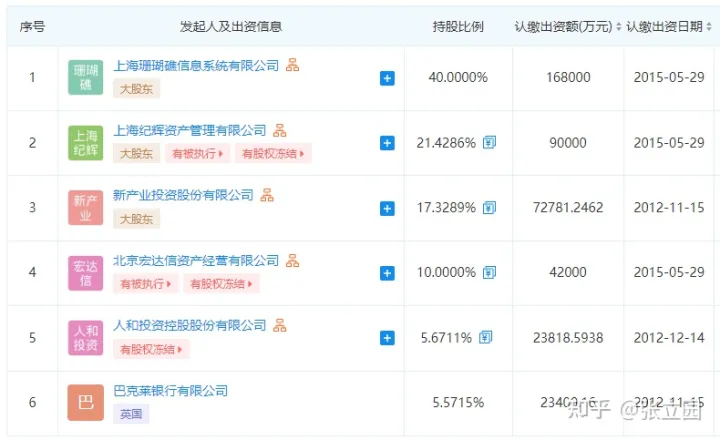
新华信托的现有股东如下图:

除了倒霉的巴克莱银行外,前五大股东均为明天系马甲企业。而明天系的9家核心金融机构不是破产就是已被接管的状态。

问题二,为什么会破产?
新华信托成立于1979年,是全国最早一批信托公司。
2001年10月,成为首批5家通过人民银行审批、获准重新登记取得信托法人机构许可证的信托公司之一。
2014年,新华信托遭遇兑付危机,被监管部门暂停了所有集合信托业务,直到2017年初才逐步恢复该业务。截至2019年末,新华信托的信用风险资产不良率仍有15.11%。
2020年7月,银保监会决定对新华信托实施接管。
2021年7月,延长接管一年。
2022年6月,进入破产程序。
破产的原因主要有:
1、明天系的倒台,使得之前很多体系内的业务出现问题,股东通过各种手段抽取的资金无法还原;

2、集合信托项目大面积出风险,公司承受了一部分损失。(新华信托的产品主要以房地产信托为主,而且基本上都是小开发商,估计就算躲过了2014年,也躲不过2021年的房地产大雷。)后被停业整顿,失去业务收入来源,又错过了后面几年信托行业的高速发展,导致严重资不抵债。截至2021年底,新华信托清查后的账面资产为55.54亿元,负债合计122.54亿元。
3、被接管救助阶段,未完成改善运营,盘活资产以及催收的经营状况,也未找到新的投资人和重整方。虽然信托牌照很值钱,可补窟窿的风险着实也不小。2019年,雪松控股前后出了几百亿收购已有几十亿逾期的中江信托,没想到边收边暴雷,时间没换来空间,却让自己陷入了无尽的深渊。所以就算是新的资方打算接手新华信托,估计也得先掂量掂量自己有几斤几两。
问题三,破产后会怎么样?
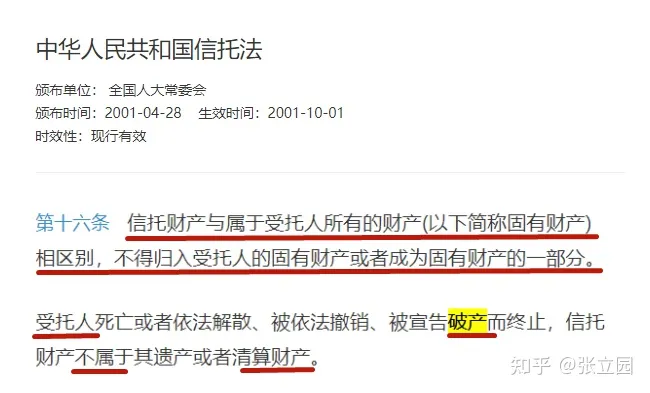
1、信托财产(客户买信托产品的钱)不属于信托公司的自有资产,不参与清算。对于还在存续期的信托产品和信托事务,清算组有义务协助新的受托人把信托事务承接过去。也就是说,你买的信托产品的钱还是你的钱,不会被清算,而且会找一个新的信托公司来继续管理这个信托产品,但对于已经违约的信托产品,新的信托管理人是否会尽心尽力的去追偿处置就不好说了。

2、新华信托的债权人们,可能要遭受比较大的损失。破产清算完有多少大家分分,认栽拉倒。有意思的是,在银保监会7月6日批准破产之后的第5天,重庆银保监局又开出了一张1400万元的罚单,这种“鞭尸”行为,估计让债权人的心都碎了。

3、当然,也不排除破产后重组的可能性。在完成破产流程后重整,重整后股权转让,这也意味着债权人最终可能损失原本投资的大部分本金,但信托牌照作为稀有资源也得到了保留。
问题四,对信托行业有啥影响?
新华信托不是我国第一家破产的信托公司,也不会是最后一家。
早在1999年,广东国际信托投资公司就申请了破产。

而目前除了新华,还有泛亚信托、金新信托、安信信托、四川信托、新时代信托、华信信托、金新信托等处于破产、停业、被接管以及风险处置状态。
近年来,信托资产的风险暴露,让很多投资人失去信心。信托管理资产规模逐年下降,

信托行业的营业收入、利润总额均出现明显下滑。

新华信托的破产清算,是我国《企业破产法》自2007年6月1日实施以来出现的首例信托公司破产。应该说,新华信托的破产,彻底打消了投资人刚兑的幻想,也给同行们敲了一记警钟:信托行业必须转型,否则新华信托就是自己的明天。
还有人问,我买的新华保险的保单有没有风险?
别瞎担心了,没有关系。
首先,股东都不同。

其次,新华保险业务正常,评级为A。



而且,新华人寿目前还接管着明天系的天安人寿呢,他不行能让他接烂摊子么。
最后,不得不说,这几年金融风险给我们的教训太多了,金融机构破产实属正常,不用太过惊慌,连斯里兰卡整个国家都破产了呢。家庭理财一定要树立起严格的风险防范意识和科学的资产配置理念,控风险永远比赚收益更重要。
免责声明:文章内容来自互联网,本站仅提供信息存储空间服务,真实性请自行鉴别,本站不承担任何责任,如有侵权等情况,请与本站联系删除。