
文末有2-28-31,10-11-13的历史统计。
【福彩双色球22111期开奖结果及统计】
红球和值95,蓝球1;3注一等奖,奖池升到超19亿。
双色球22111期开奖结果及中奖情况:
出奖时间: 2022-09-25 星期日
红球: 2-10-11-13-28-31 蓝球: 1
双色球红球重号叠码:13, 28
双色球红球隔期下落:11, 13
双色球红球奇偶比:3:3
红球和值: 95
红球跨度:29
三区比:3:1:2
连号: 10-11


双色球22111期一等奖: 3注
二等奖: 160注
本期全国销售金额:385923798 元
奖池滚存:1901720272 元.
近15期奖池滚存, 中奖情况等信息:

双色球2022111期红号在过去是否出现过?
双色球2022111期红号: 2-10-11-13-28-31
经查,历史上没有出现过与这一期6个红球或者5个红球号码一样的。
与这一期4个红号一样的有9期,如下:


相似号下一期的近10期统计:


奖池滚存及一等奖数量:

统计近1500期蓝号1之后, 各蓝球的出现次数
双色球22111期蓝号是1
找出近1500期蓝球1号之后, 下一期出现的所有蓝号,统计其出现次数。,
除开这一期,总共出现了112次1号球
那么统计的样本数据是112个

=> 近1500期蓝号1之后的冷热号
蓝球热号:10,3,15,9,2
蓝球冷号:13,14,4,5,7
双色球22111期开奖号码 VS 各冷热号
=> 双色球22111期四维度冷热号
红球热号:20,17,28,6,18,22,25,31,24,19
红球冷号:30,27,23,29,26,5,10,1,8
蓝球热号:15,4
蓝球冷号:3,5,7,9
命中红号: 31(热号) 10(冷号)
=> 双色球近300期冷热号
红球热号:9,15,6,26,24,14,19,4,18,7
红球冷号:30,21,8,13,2,3,16,33,12,31
蓝球热号:15,1,16,8,2
蓝球冷号:12,3,13,11
命中红号: 2-13-31(冷号)
命中蓝号: 1(热号)
=> 双色球近10期冷热号
红球热号: 9,12,13,15,18,19,20,28,31
红球冷号: 2,5,30
蓝球热号: 1,15
蓝球冷号: 2,3,5,6,7,8,9,12,13
命中红号: 13-28-31(热号) 2(冷号)
命中蓝号: 1(热号)
博弈心理,挑战概率: 看近期开奖号码,也可看历史数据统计!
【双色球22112期多角度冷热号】
双色球22112期四维走势图,红蓝号统计及冷热号
1) 历史同一天: 09月27日出过的号码 (共9期)


2) 历史同一期: 每年112期出过的号码 (共18期)


统计每年112期的样本数据:108个红球 18个蓝球

3) 追溯10期 每月27日的开奖号码:


4) 双色球最近20期出现的号码:

=> 统计出现概率
综合以上4个纬度的号码, 共57期
根据出现的次数,分为热号,冷号,其他的为温号。
统计样本数据:342个红球 57个蓝球

=> 双色球22112期四维度冷热号
红球热号:31,28,18,1,26,20,13,11,4,16
红球冷号:2,8,30,10,29,5,27,33,14
蓝球热号:15,14,11,1
蓝球冷号:13,3,8,9,12
双色球近100期红蓝号统计情况
统计样本数据: 600个红球 100个蓝球

=> 双色球近100期冷热号
红球热号:7,14,31,19,18,6,33,32,29,26
红球冷号:2,16,8,25,1,21,30,3,5
蓝球热号:15,14,1,8,2
蓝球冷号:3,13,12,10,11
双色球近10期红蓝号统计情况
统计样本数据: 60个红球 10个蓝球

=> 双色球近10期冷热号
红球热号: 9,11,12,13,15,18,19,20,28,31
红球冷号: 5,16,27,30
蓝球热号: 1,15
蓝球冷号: 2,3,4,5,6,7,8,9,12,13
另外这10期的奖池情况:

多角度蓝球次数汇总

=> 汇总的蓝球冷热号:
热号:15,1,14
冷号:13,3,12,4,7,5,6
【其他历史数据查询统计】
双色球历史上的今天
2022-09-26 星期一 双色球不开奖
每年09月26日出号情况:

奖池滚存&一等奖数 走势图:

双色球每年113期的出奖号


双色球红球含10-11-13历史统计



双色球红球含2-28-31历史统计



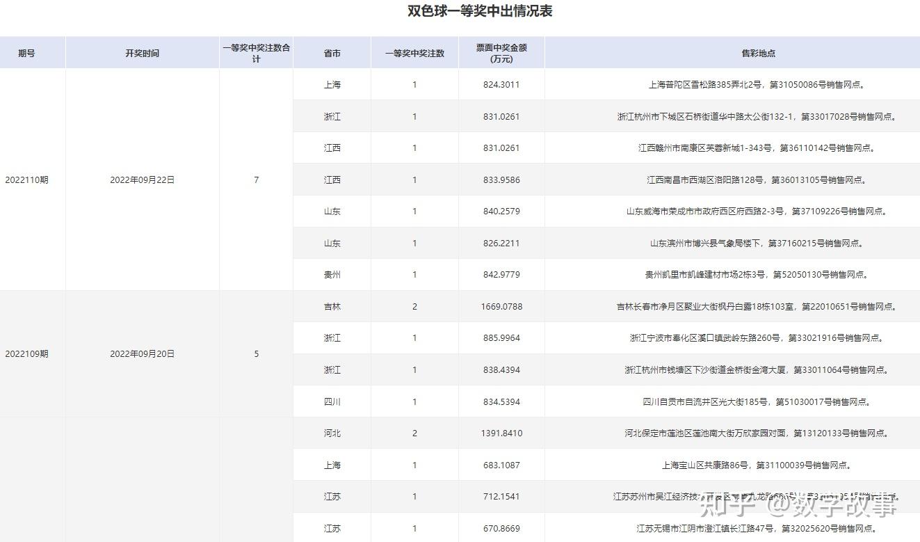
双色球22109,22110期一等奖中奖详情

双色球 蓝号1,遗漏次数的次数统计
遗漏统计:这一期我们来看看双色球 蓝号1的遗漏次数统计。
实现方法: 把所有的次数收集在一起然后做统计。 0次的意思是连续出同一个号,1的意思是间隔了1次出,也就是只遗漏了1次。

可以看出目前历史上最多遗漏了83期。
免责声明:文章内容来自互联网,本站仅提供信息存储空间服务,真实性请自行鉴别,本站不承担任何责任,如有侵权等情况,请与本站联系删除。