“全民K歌”无效“全名K歌”,官司打到北京高院,腾讯终审获胜-全民k歌导入伴奏自己录歌
原标题:“全民K歌”无效“全名K歌”,官司打到北京高院,腾讯终审获胜
《全民K歌》大家都很熟悉了,它是一款由腾讯公司出品的k歌软件,2014年8月26日,《全民K歌》正式开启预约下载,并于2014年9月1日首发。
腾讯公司的知识产权保护意识不用多说,早在2014年5月29日,就申请了第9类、第42类的“全民K歌”商标——第14781502号商标(引证商标一)、第14781603号商标(引证商标二);后来,又于2017年2月24日,申请了22927253号“全民K歌”商标(引证商标三),在第41类相关商品服务类别。
之后,腾讯公司监测到这枚商标,开启了商标无效的法律进程,这次无效经历了行政阶段,一审、二审,充满波折,好在著称为“南山必胜客”的腾讯终审获胜。
首先,腾讯公司向国知局提起无效请求,国家知识产权局裁定:诉争商标予以维持。
一、诉争商标与引证商标一至三未构成2013年修正的《商标法》第三十条、第三十一条所指使用在同一种或类似商品/服务上的近似商标;
二、对于腾讯公司主张知名软件特有名称商品化权益的主张,不予支持;
三、诉争商标本身对商品的品质、用途等不具有描述性,不属于2013年商标法第十条第一款第七项所指容易误导公众,具有欺骗性的情形;
四、诉争商标标志未对公共利益产生消极、负面影响,不属于2013年商标法第十条第一款第八项规定所指情形。
五、无证据证明诉争商标的申请注册系欺骗手段获得注册,或构成2013年商标法第四十四条第一款所指“其他不正当手段”。
六、诉争商标的注册违反《商标法》第四条的主张缺乏事实和法律依据。
可见,腾讯公司尽可能多的使用《商标法》相关法条对诉争商标提起无效,可惜,未有一条获得支持!作为南山必胜客,当然不会就此罢休,继续上诉至北京知识产权法院。
北京知识产权法院审理后同样驳回了腾讯公司的诉讼请求。
腾讯公司不服一审判决,继续上诉至北京市高级人民法院。这次,腾讯公司进一步佐实补充了证据材料。
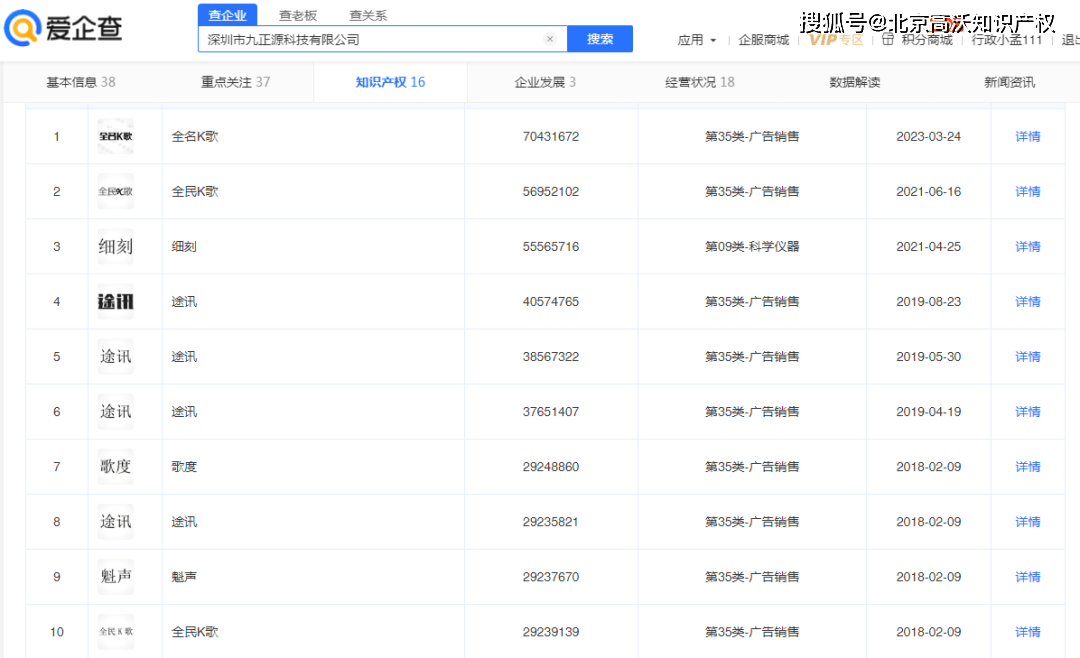
腾讯公司上诉称九正源公司名下共有15件商标,其中14件是将他人的麦克风等产品品牌申请注册在第35类服务上,剩余1件是将其他电商公司的公司商号申请注册在第9类商品上。九正源公司名下所有商标均是对他人极具显著性商标的抢注,明显具有傍名牌、搭便车的恶意,且九正源公司申请注册的商标大多已被驳回、异议或无效,严重扰乱了正常的商标注册管理秩序,已构成2013年商标法第四十四条第一款规定之情形。
图片来自爱企查
北京高院认可了腾讯这一上诉理由:本案中,除诉争商标外,九正源公司先后在第9类、第35类商品或服务类别上申请注册了“全民K歌”“途讯”“方猫”“歌度”“渥赢”“魁声”“青叶”“C1全民”等多件与他人具有较强显著性或较高知名度的商标相同或高度近似的商标,难谓巧合,且九正源公司未提交充分证据证明其对上述商标进行了商业使用或具有真实的使用意图。上述商标注册行为会对正常的商标注册秩序产生消极影响,并有损公平竞争的市场秩序,此种有碍于社会主义市场经济诚实守信经营秩序建立的行为,应当予以有效规制。原审判决和被诉裁定认定诉争商标的注册未违反2013年商标法第四十四条第一款之规定存有不当,本院予以纠正。
最终判决:撤销北京知识产权法院相关一审判决;撤销国家知识产权局相关裁定;令国家知识产权局针对腾讯科技(深圳)有限公司就第29248826号“全名K歌”商标无效宣告请求重新作出裁定。
商标诉争维权的过程并不是一帆风顺的,作为南山必胜客的腾讯也逃不过一波三折,好在,腾讯的坚持和不气馁,终于在二审法庭得到了认可,案件发生转折,最终获得胜诉!这给众多企业的知识产权保护工作以启发,坚持到底,就可能柳暗花明!
--------------------------
来源 | 北京高沃知识产权(ID: gaowoip-com)
编辑 | 北京高沃知识产权(ID: gaowoip-com)
声明 | 部分图文内容源自网络,版权归原作者,侵删~返回搜狐,查看更多
责任编辑:
