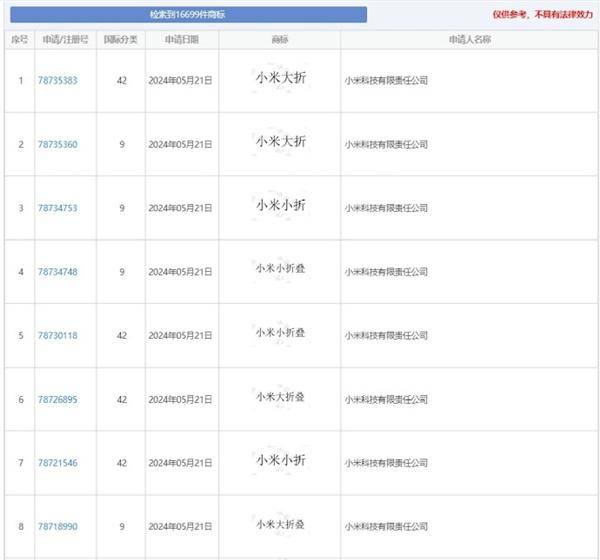
【ITBEAR科技资讯】6月11日消息,近日,中国商标网公开的信息揭示,小米科技有限责任公司已在2024年5月21日提交了8个与折叠屏手机相关的商标注册申请。这些商标包括“小米大折”、“小米小折”、“小米小折叠”以及“小米大折叠”等,体现了小米在折叠屏手机领域的布局和发展意图。

据报道,小米的全新一代折叠屏旗舰手机MIX Fold 4已通过入网认证,并将支持天通卫星通信。此外,MIX Fold 4有望在7-8月份与消费者见面,并将搭载业界领先的高通骁龙8 Gen3处理器,为用户提供更强大的性能体验。
同时,小米的首款小折叠手机MIX Flip也已在IMEI数据库中亮相,预示着这款设备即将在全球范围内上市发售。从曝光的谍照中可以看出,MIX Flip的A面设计独特,上层配备了双摄模块和双闪光灯,并印有徕卡标识,显示出其在摄影功能上的专业性。下层则是一块大尺寸的外屏,这块外屏不仅在尺寸上有所突破,更有望在功能和交互上带来更多新颖的体验。

小米MIX Flip已经正式通过入网认证,并支持67W快充技术,这意味着用户在享受便捷充电的同时,也能体验到更快的充电速度。在性能方面,MIX Flip预计将搭载高性能的骁龙8 Gen处理器,为用户提供流畅的操作体验。
目前,小米在折叠屏手机领域的布局已逐渐明晰,无论是大尺寸的MIX Fold 4,还是小尺寸的MIX Flip,都展示了小米在技术创新和产品设计上的实力。随着这两款新品的即将发布,小米有望在折叠屏手机市场掀起新的波澜。
来源:http://www.itbear.com.cn/html/2024-06/488007.html返回搜狐,查看更多
责任编辑:
免责声明:文章内容来自互联网,版权归原作者所有,本站仅提供信息存储空间服务,真实性请自行鉴别,本站不承担任何责任,如有侵权等情况,请与本站联系删除。
转载请注明出处:小米小米提交8个折叠屏相关商标申请,‘大折小折’齐亮相-小米折叠屏叫什么 https://www.7ca.cn/zsbk/zt/29166.html